在化工、石化、医药、食品、冶金、造纸以及污水处理等过程工业中,搅拌操作是一项至关重要的工艺环节。特别是在合成纤维、合成树脂和合成橡胶这三大合成工业中,搅拌设备占据了反应器总量的绝大多数,其性能优劣直接影响到整个生产过程的效率与成本。随着现代工业向大型化、智能化、精细化和高效节能化方向发展,对搅拌设备的要求也日益提高。传统搅拌器虽结构简单、操作方便,但功能单一,难以适应复杂多变的化工过程。因此,开发新型高效搅拌器,并合理选用,已成为当前化工领域研究的热点。
新型双叶片搅拌器的创新设计
针对传统搅拌器在变工况反应体系中的不足,综合现有宽适应性搅拌器的优点,创新开发了新型大双叶片式搅拌器。

1.结构设计
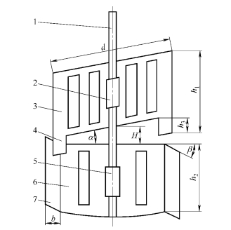
上面这3种搅拌器在搅拌釜纵剖面上的投影面积占全釜纵剖面积的比例均很大,因此,从低黏湍流场合到高黏层流场合,从液液单相到固液、汽液双相及汽液固三相均有优异表现。但也存在着功耗相对偏大的弊端。新型大双叶片搅拌器的结构设计充分考虑了搅拌过程的实际需求。上叶片为π形,其下部尖端设有延长板,能够沟通促进上、下叶片间流体的流动;下叶片的外周布有折边板,底部形状与下封头轮廓相匹配,以增加放射流的排出。同时,上下叶片都对称开有栅格,彼此保持一定轴向间距并互成角度进行布置。这种独特的设计使得新型双叶片搅拌器在搅拌过程中能够产生更为复杂的流场,从而提高搅拌效果。

1-搅拌轴;2-上轴套;3-上叶片;4-延长板:5-下轴套;6-下刀片; 7-法兰板
2.结构优势
新型大双叶片搅拌器的结构决定了其具有以下优势:
(1)大叶片设计:叶片相对于釜体的纵剖面投影比超过0.7,属于大叶片搅拌器。大叶片能够提供更大的搅拌面积,使物料得到更充分的混合。
(2)沟通促进作用:上叶片的延长板能够沟通促进上、下叶片间流体的流动,增强搅拌的均匀性。
(3)增加放射流排出:下叶片的外周折边板能够增加放射流的排出,改善搅拌釜内流体的循环状况。
(4)优化流型与降低功耗:通过调整上下叶片的夹角a和轴向间距H,可以优化搅拌釜内的流型,降低搅拌器的功耗。
(5)剪切细化与降低功耗:上、下叶片上对称开设的栅格能够起到剪切细化流体的作用,同时也有助于降低搅拌器的功耗。
(6)高效混合与工业放大设计:新型双叶片搅拌器允许液面有较大的波动,能保持高效的混合性能,且其结构相对简单,加工方便,易于工业放大设计。
新型双叶片搅拌器的性能分析
为了验证新型双叶片搅拌器的性能,本文借助数值模拟方法对其流场、功率及混合特性进行了考察。
1.流场分析
通过数值模拟,可以清晰地观察到新型双叶片搅拌器在搅拌釜内产生的流场。在搅拌过程中,上下叶片的旋转产生了复杂的流场结构,包括径向流、切向流和轴向流等。这些流场结构相互交织、相互作用,使得物料在搅拌釜内得到充分的混合和搅拌。同时,上下叶片的夹角a和轴向间距H的调整可以进一步优化流场结构,提高搅拌效果。
2.功率分析
功率是搅拌器性能的重要指标之一。通过数值模拟计算得到新型双叶片搅拌器的功率消耗,并与传统搅拌器进行对比分析。结果表明,新型双叶片搅拌器在保持高效搅拌效果的同时,其功率消耗相对较低。这主要得益于其独特的结构设计以及优化的流场结构。
3.混合特性分析
混合特性是搅拌器性能的另一个重要指标。通过数值模拟计算得到新型双叶片搅拌器的混合时间、混合均匀度等参数,并与传统搅拌器进行对比分析。结果表明,新型双叶片搅拌器在混合时间、混合均匀度等方面均优于传统搅拌器。这主要得益于其大叶片设计、沟通促进作用以及剪切细化作用等独特优势。
新型双叶片搅拌器具有优异的搅拌效果和较低的功耗消耗,能够很好地适应复杂多变的化工过程需求。同时,其结构简单、加工方便、易于工业放大设计等特点也为其在化工领域的应用提供了广阔的前景。因此,新型双叶片搅拌器是一种具有很高实用价值和推广价值的高效搅拌设备。
航烨能源与中科院长期合作,历经多年的技术积累与持续创新,我们专注于搅拌反应釜设备的深度研发、创新设计、高效生产及全方位的安装服务。我们致力于为客户提供量身定制的搅拌反应釜系统解决方案,以满足您在不同化学反应和工艺过程中的特定需求。
现诚邀对搅拌反应釜设备、高效混合技术以及中小型化工生产领域感兴趣的企业、科研院所等用户与我们取得联系。我们愿意为您提供更专业、更全面的技术信息和解决方案,并期待您的莅临指导,共同探讨合作的可能性,携手开启更广泛的合作篇章。
我们深信,通过双方的紧密合作,我们可以共同推动搅拌反应釜设备领域的技术进步和产业发展,共创辉煌的未来。期待与您携手并进,共创美好明天!